题目内容

按题目要求作图。

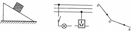
(1)如图甲,画出物体在光滑斜面上下滑时的受力示意图。
(2)如图乙,用笔画线代替导线将部分家庭电路连接完整。
(3)如图丙,通过凸透镜焦点的光线AO,经过凸透镜沿OB方向射出,作出该凸透镜和焦点F的位置。(保留作图痕迹)

如图

甲                            乙                    丙

解析考点:受力图 安全用电凸透镜成像
分析:(1)注意光滑斜面没有摩擦力(2)灯泡开关接火线,三脚插头上地线左零线右火线(3)过焦点的光线经过凸透镜后与主光轴平行。

练习册系列答案
相关题目

违法和不良信息举报电话:027-86699610 举报邮箱:58377363@163.com

精英家教网