题目内容

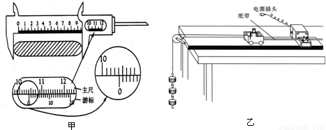
如图所示为某次用游标卡尺测一个物体长度时的情形,则该物体的长度是
23.6
23.6
mm.
分析:游标卡尺读数的方法是主尺读数加上游标读数,不需估读.主尺读数时看游标的0刻度线超过主尺哪一个示数,该示数为主尺读数,看游标的第几根刻度与主尺刻度对齐,乘以游标的分度值,即为游标读数.
解答:解:主尺读数为23mm,游标尺上的第6个刻度和主尺上的某一刻度对齐,因此游标读数为0.1×6=0.6mm,所以最终读数为:23mm+0.6mm=23.6mm.
故答案为:23.6.
点评:解决本题的关键掌握游标卡尺的读数方法,主尺读数加上游标读数,不需估读.
练习册系列答案
相关题目

违法和不良信息举报电话:027-86699610 举报邮箱:58377363@163.com

精英家教网