题目内容
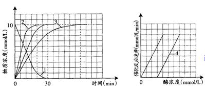
动物脑组织中含有丰富的谷氨酸脱羧酸,能专一催化1 mol谷氨酸分解为1 mol氨基丁酸和1 mol CO2。某科研小组从小鼠的脑中得到该酶后,在谷氨酸起始浓度为10mmol/L 、最适温度、最适pH值的条件下,对该酶的催化反应过程进行研究,结果见图1和图2。
![]()
图1产物CO2浓度随时间变化曲线图 图2酶催化反应速率随酶浓度变化曲线
(注:酶浓度固定) (注:反应物浓度过量)
请根据以上实验结果,回答下列问题:
⑴ 在图1画出反应过程中谷氨酸浓度随时间变化的曲线(请用"1"标注)。
⑵ 当一开始时,将混合物中谷氨酸脱羧酸的浓度增加50%或降低反应温度10℃,请在图1中分别画出理想条件下CO2 浓度随时间变化的曲线(请用"2"标注酶浓度增加后的变化曲线,用"3"标注温度降低后的变化曲线)。
⑶ 重金属离子能与谷氨酸脱羧酸按比例牢固结合,不可解离,迅速使酶失活。在反应物浓度过量的条件下,向反应混合物中加入一定量的重金属离子后,请在图2中画出酶催化反应速率随酶浓度变化的曲线(请用"4"标注)。
![]()
解析:
略
练习册系列答案
相关题目
猪笼草是一种食虫植物,它以瓶样带盖的变态叶捕捉昆虫,并以其分泌物消化虫体。
实验目的:探究该分泌物中是否含有蛋白酶、脂肪酶、淀粉酶。
实验原理:酶的作用具有专一性:蛋白酶只能催化蛋白质的水解,脂肪酶只能催化脂肪水解,淀粉酶只能催化淀粉水解。
材料用具:洁净的试管若干支,瘦肉块、肥肉块、马铃薯片、清水、猪笼草新鲜的分泌物等。
某同学做了以下的实验:
取6支试管,分别进行如下表的处理。两个小时后观察、记录现象。
| 试管编号 | 加入物 | 条件 | 现象 |
| 1 | 2mL水+1cm3瘦肉块 | 室温 | 无明显变化 |
| 2 | 2mL新鲜分泌物+1cm3瘦肉块 | 室温 | 瘦肉块明显变化 |
| 3 | 2mL水+1cm3肥肉块 | 室温 | 无明显变化 |
| 4 | 2mL新鲜分泌物+1cm3肥肉块 | 室温 | 无明显变化 |
| 5 | 2mL水+1cm3马铃薯块 | 室温 | 无明显变化 |
| 6 | 2mL新鲜分泌物+1cm3马铃薯块 | 室温 | 无明显变化 |
①、此实验说明分泌物中有__________,没有____________________。
②、试管1、3和5在此实验中的作用是_______________。
(2)、动物脑组织中含有丰富的谷氨酸脱羧酶,能专一催化1 mol谷氨酸分解为1 mol,-氨基丁酸和1 mol CO2。某科研小组从小鼠脑中得到该酶后,在谷氨酸起始浓度为10mmol/L 及最适温度、最适pH值的条件下,对该酶的催化反应过程进行研究,结果见图38一1和图38一2。
图38-1产物CO2:浓度随时间变化曲线图 38-2酶促反应速率随酶浓度变化曲线
(注:酶浓度固定) (注:反应物浓度足量)
请根据以上实验结果,回答下列问题:
①、在图38一1画出反应过程中谷氨酸浓度随时间变化的曲线(请用“1”标注)。
②、当一开始时,将混合物中谷氨酸脱羧酸酶的浓度增加50% 或降低反应温度10℃,请在图38一1中分别画出理想条件下CO2 浓度随时间变化的曲线(请用“2”标注酶浓度增加后的变化曲线,用"3”标注温度降低后的变化曲线)。
③、重金属离子能与谷氨酸脱羧酶按比例牢固结合,使其空间结构发生永久改变。在反应物浓度足量的条件下,向反应混合物中加人一定量(少量)的重金属离子后,请在上图38-2中画出谷氨酸脱羧酶催化反应速率随酶浓度变化的曲线(请用“4”标注)