题目内容

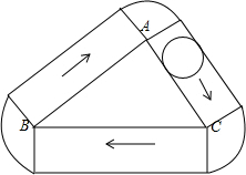
精英家教网如图,△ABC的周长是圆的周长的3倍,当这个圆按箭头方向从某一位置沿三角形的三边外侧做无滑动旋转,直到回到原出发位置,则这个圆共转了(  )圈.
A、3
B、
7
2
C、4
D、
9
2
分析:⊙O沿三角形的三边外侧做无滑动旋转,直到回到原出发位置,这个圆共转的圈数:在三个顶点共转过360°,即转过一周,⊙O在三边上共转过三周,所以共转动了4周解决问题.
解答:精英家教网解:如图,圆转的圈数即是圆心所走过的距离,
圆在三个顶点转动的角度和为360°×3-90°×6-180°=360°,
也就是圆在三个顶点转动了一周,
沿三边共转过三周,所以共转动了4周.
故选C.
点评:解答此题的关键是理解圆在三个顶点转过的弧长与圆的周长之间的联系.
练习册系列答案
相关题目

违法和不良信息举报电话:027-86699610 举报邮箱:58377363@163.com

精英家教网