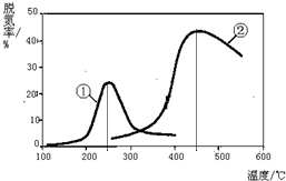
摘要:14.如右图.采用NH3作还原剂.烟气以一定的流速通过两种不同催化剂.测量逸出气体中氮氧化物含量.从而确定烟气脱氮率.反应原理为:NO(g) + NO2(g) + 2NH3(g) 2N2(g) + 3H2O(g).相关说法正确的是 A.上述反应的正反应为吸热反应 B.催化剂①.②分别适合于250℃和450℃左右脱氮 C.曲线①.②最高点表示此时平衡转化率最高 D.相同条件下.改变压强对脱氮率没有影响 非选择题
网址:http://m.1010jiajiao.com/timu3_id_433943[举报]
如图,采用NH3作还原剂,烟气以一定的流速通过两种不同催化剂,测量逸出气体中氮氧化物含量,从而确定烟气脱氮率,反应原理为:NO(g)
NO2(g)
2NH3(g)
2N2(g)
3H2O(g),相关说法正确的是 )
![]()
A.上述反应的正反应为吸热反应
B.催化剂①、②分别适合于250℃和450℃左右脱氮
C.曲线①、②最高点表示此时平衡转化率最高
D.相同条件下,改变压强对脱氮率没有影响
查看习题详情和答案>>
如图,采用NH3作还原剂,烟气以一定的流速通过两种不同催化剂,测量逸出气体中氮氧化物含量,从而确定烟气脱氮率,反应原理为:NO(g)
NO2(g)
2NH3(g)
2N2(g)
3H2O(g),相关说法正确的是 )

| A.上述反应的正反应为吸热反应 |
| B.催化剂①、②分别适合于250℃和450℃左右脱氮 |
| C.曲线①、②最高点表示此时平衡转化率最高 |
| D.相同条件下,改变压强对脱氮率没有影响 |
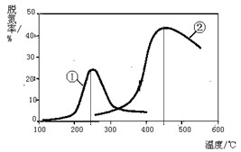
如图,采用NH3作还原剂,烟气以一定的流速通过两种不同催化剂,测量逸出气体中氮氧化物含量,从而确定烟气脱氮率,反应原理为:NO(g)
NO2(g)
2NH3(g)
2N2(g)
3H2O(g),相关说法正确的是 )![]()
| A.上述反应的正反应为吸热反应 |
| B.催化剂①、②分别适合于250℃和450℃左右脱氮 |
| C.曲线①、②最高点表示此时平衡转化率最高 |
| D.相同条件下,改变压强对脱氮率没有影响 |
(2012?崇明县二模)如图,采用NH3作还原剂,烟气以一定的流速通过两种不同催化剂,测量逸出气体中氮氧化物含量,从而确定烟气脱氮率,反应原理为:NO(g)+NO2(g)+2NH3(g)?2N2(g)+3H2O(g),相关说法正确的是( )

查看习题详情和答案>>
| A、上述反应的正反应为吸热反应 | B、催化剂①、②分别适合于250℃和450℃左右脱氮 | C、曲线①、②最高点表示此时平衡转化率最高 | D、相同条件下,改变压强对脱氮率没有影响 |