摘要:13.下列物质中.其分子式为C6H14的是( ) A.2-甲基丁烷 B.2.3-二甲基戊烷 C.2-甲基己烷 D.2.3-二甲基丁烷
网址:http://m.1010jiajiao.com/timu3_id_189434[举报]
(1)下列物质中,其核磁共振氢谱中给出的峰值(信号)只有一个的是
AD
AD
(可多选).A.CH3CH3 B.CH3COOH C.CH3COOCH3 D.CH3OCH3
(2)化合物A和B的分子式都是C2H4Br2,A的核磁共振氢谱图如图所示,则A的结构简式为:
BrCH2CH2Br
BrCH2CH2Br
,请预测B的核磁共振氢谱上有2
2
个峰(信号).在有机物分子中,不同氢原子的核磁共振谱中给出的信号也不同,根据信号可以确定有机物分子中氢原子的种类和数目.例如二乙醚的结构简式为:CH3-CH2-O-CH2-CH3,其核磁共振谱中给出的信号有两个,如图①所示:

(1)下列物质中,其核磁共振氢谱中给出的信号只有一个的是
A.CH3CH3 B.CH3COOH C.CH3COOCH3 D.CH3OCH3
(2)化合物A和B的分子式都是C2H4Br2,A的核磁共振氢谱图如右图②所示,则A的结构简式为
(3)在常温下测得的某烃C8H10(不能与溴水反应)的核磁共振谱上,观察到两种类型的H原子给出的信号,其强度之比为2:3,试确定该烃的结构简式为
;该烃在光照下生成的一氯代物在核磁共振谱中可产生
(4)在常温下测定相对分子质量为128的某链烃的核磁共振谱,观察到两种类型的H原子给出的信号,其强度之比为9:1,则该烃的结构简式为
,其名称为
查看习题详情和答案>>
(1)下列物质中,其核磁共振氢谱中给出的信号只有一个的是
AD
AD
.(填序号)A.CH3CH3 B.CH3COOH C.CH3COOCH3 D.CH3OCH3
(2)化合物A和B的分子式都是C2H4Br2,A的核磁共振氢谱图如右图②所示,则A的结构简式为
CH2BrCH2Br
CH2BrCH2Br
,请预测B的核磁共振氢谱上有2
2
种信号.(3)在常温下测得的某烃C8H10(不能与溴水反应)的核磁共振谱上,观察到两种类型的H原子给出的信号,其强度之比为2:3,试确定该烃的结构简式为
4
4
种信号,强度比为3:2:2:2
3:2:2:2
.(4)在常温下测定相对分子质量为128的某链烃的核磁共振谱,观察到两种类型的H原子给出的信号,其强度之比为9:1,则该烃的结构简式为
2,2,4,4-四甲基戊烷
2,2,4,4-四甲基戊烷
.二乙醚的结构简式为:CH3-CH2-O-CH2-CH3其核磁共振谱是如图的
(1)下列物质中,其核磁共振氢谱中给出的峰值(信号)只有一个的是
A.CH3CH3 B.CH3COOH C.CH3COOCH3 D.CH3OCH3
(2)化合物A和B的分子式都是C2H4Br2,A的核磁共振氢谱图如图N所示,则A的结构简式为:
查看习题详情和答案>>
M
M
(1)下列物质中,其核磁共振氢谱中给出的峰值(信号)只有一个的是
AD
AD
(多选扣分)A.CH3CH3 B.CH3COOH C.CH3COOCH3 D.CH3OCH3
(2)化合物A和B的分子式都是C2H4Br2,A的核磁共振氢谱图如图N所示,则A的结构简式为:
CH2BrCH2Br
CH2BrCH2Br
,请预测B的核磁共振氢谱上有2
2
个峰(信号).(2006?深圳一模)利用核磁共振技术测定有机物分子的三维结构的研究获得了2002年诺贝尔化学奖.在有机物分子中,不同氢原子的核磁共振谱中给出的峰值(信号)也不同,根据峰值(信号)可以确定有机物分子中氢原子的种类和数目.例如二乙醚的结构简式为:
CH3-CH2-O-CH2-CH3其核磁共振谱中给出的峰值(信号)有两个,如图1所示:
(1)下列物质中,其核磁共振氢谱中给出的峰值(信号)只有一个的是
A.CH3CH3 B.CH3COOH C.CH3COOCH3 D.CH3OCH3
(2)化合物A和B的分子式都是C2H4Br2,A的核磁共振氢谱图如图2所示,则A的结构简式为:
(3)用核磁共振氢谱的方法来研究C2H6O的结构,简要说明根据核磁共振氢谱的结果来确定C2H6O分子结构的方法是

查看习题详情和答案>>
CH3-CH2-O-CH2-CH3其核磁共振谱中给出的峰值(信号)有两个,如图1所示:
(1)下列物质中,其核磁共振氢谱中给出的峰值(信号)只有一个的是
AD
AD
.A.CH3CH3 B.CH3COOH C.CH3COOCH3 D.CH3OCH3
(2)化合物A和B的分子式都是C2H4Br2,A的核磁共振氢谱图如图2所示,则A的结构简式为:
BrCH2CH2Br
BrCH2CH2Br
,请预测B的核磁共振氢谱上有2
2
个峰(信号).(3)用核磁共振氢谱的方法来研究C2H6O的结构,简要说明根据核磁共振氢谱的结果来确定C2H6O分子结构的方法是
通过核磁共振氢谱中的信号峰可以判断有3个信号峰,分子结构为HOCH2CH2OH,有1个信号峰时,分子结构为CH3OCH3
通过核磁共振氢谱中的信号峰可以判断有3个信号峰,分子结构为HOCH2CH2OH,有1个信号峰时,分子结构为CH3OCH3
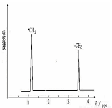
.利用核磁共振技术测定有机物分子的三维结构的研究获得了2002年诺贝尔化学奖。在有机物分子中,不同氢原子的核磁共振谱中给出的峰值(信号)也不同,根据峰值(信号)可以确定有机物分子中氢原子的种类和数目。例如二乙醚的结构简式为:
CH3—CH2—O—CH2—CH3
其核磁共振谱中给出的峰值(信号)有两个,如图所示:
![]()
(1)、下列物质中,其核磁共振氢谱中给出的峰值(信号)只有一个的是 (多选扣分)。
A.CH3CH3 B. CH3COOH
C. CH3COOCH3 D. CH3OCH3
(2)、化合物A和B的分子式都是C2H4Br2, A的核磁共振氢谱图如下图所示,则A的结构简式为: ,请预测B的核磁共振氢谱上有 个峰(信号)。
![]()
查看习题详情和答案>>