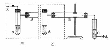
27.(12分)根据右图所提供的信息,在反应一段时间后:

  (1)甲池中的现象为:             

                          

                          

  (2)甲池中总反应的离子方程式为                      

  (3)乙池中总反应的离子方程式为                        

  (4)将湿润的淀粉KI试纸放在乙池碳棒附近,发现试纸变蓝,其原因是(用离子方程式表示)                           ;但过一段时间后又发现蓝色褪去,这是因为过量的Cl2将生成的I2又氧化。若反应的Cl2和I2物质的量之比为5 :1,且生成两种酸,该反应的化学方程式为:

                                        

  (5)若乙池的电源连接方向开始时就与上述的图示相反,则反应一段时间后,其溶液中可能出现的现象是                           

                                        

  28.(8分)水的电离平衡曲线如右图所示:

  (1)若以A点表示25℃时水电离平衡时离子的浓度,

当温度升高到100℃时,水的电离平衡状态变到

B点,则此时水的离子积从        变到

        ,造成水的离子积变化的原因是

                     

                                        

  (2)已知25℃时,0.1 L 0.1 mol·L-1的NaA溶液的pH = 10,则NaA溶液中所存在的离子的物质的量浓度由大到小的顺序为                  

  (3)25℃时,将pH = 11的NaOH溶液与pH = 4的硫酸溶液混合,若所得混合溶液pH = 9,则NaOH溶液与硫酸溶液的体积比为       

  (4)100℃时,若10体积的某强酸溶液与1体积的某强碱溶液混合后溶液呈中性,则混合之前,该强酸的pH与强碱的pH之间应满足的关系是            

25.(6分)已知A、B、C、D、E为周期表里1~20号元素中的五种。

   又知:

   ①A与D同族,B与E同族,B与C同周期;

②E为原子序数为奇数,A与E的原子序数之和为28;

③0.1 mol C单质与足量的E的最高价氧化物对应水化物的溶液反应生成3.36L(标准状况)的氢气。

请回答下列问题:

  (1)写出A和C的元素符号:A       、C      

  (2)写出B元素的单质在空气中燃烧后产物的电子式              

  (3)C的单质与足量的E的最高价氧化物对应的水化物的溶液反应的离子方程式为:

                                         

  26.(14分)已知有机物A是一种邻位二取代苯,其中一个取代基是羧基,它可发生如下转化:

请回答下列问题:

  (1)反应①、②都属于取代反应,其中①是       反应,②是      反应

(填有机反应名称)

  (2)A的结构简式是:                           

  (3)反应③的化学方程式是(有机物写结构简式):

                                        

  (4)写出A与NaOH溶液共热的化学方程式(有机物写结构简式):

                                        

  (5)写出三种具有与A相同官能团且均为邻位二取代苯的同分异构体的结构简式:

                                          

 0  36882  36890  36896  36900  36906  36908  36912  36918  36920  36926  36932  36936  36938  36942  36948  36950  36956  36960  36962  36966  36968  36972  36974  36976  36977  36978  36980  36981  36982  36984  36986  36990  36992  36996  36998  37002  37008  37010  37016  37020  37022  37026  37032  37038  37040  37046  37050  37052  37058  37062  37068  37076  447348 

违法和不良信息举报电话:027-86699610 举报邮箱:58377363@163.com

精英家教网