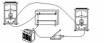
3、(5分)用下图的实验装置来研究电流强度跟电压的关系。
(1)在上边的方框内画出实验的电路图。
表1:用导线AB时的实验记录
|
电压(伏特) |
2 |
4 |
6 |
|
电流强度(安培) |
0.4 |
0.8 |
1.2 |
表2:用导线CD时的实验记录
|
电压(伏特) |
2 |
4 |
6 |
|
电流强度(安培) |
0.2 |
0.4 |
0.6 |
分析实验结果,得出实验结论是:导体中电流强度________。
(3)从实验记录中发现,在相同电压下,通过导线AB和CD的电流强度不同,说明不同的导体对电流的________是不同的。
(4)导线AB的电阻R?=________欧姆。
翰林汇
9、
(2分)在图所示电路中,电源电压为220伏特,灯泡L1的电阻是120欧姆,灯泡L2的电阻是600欧姆。当K1、K2都闭合时,电路的总电阻等于________欧姆,干路里的电流强度等于____安培。
8、(2分)一条电阻线,允许通过的最大电流是2安.若给它加36伏电压,通过的电流为0.5安,分把这条电阻线接到220 电路中正常工作,至少应该给它________联一个________欧的电阻.翰林汇
7、(2分)在验证欧姆定律的实验中,测得数据如下表所列。由第一个表得到的结论是_______________________由第二个表得到的结论是____________________。
|
电阻( |
电压(V) |
电流强度(A) |
|
5 |
3 |
0.6 |
|
6 |
1.2 |
|
电压(V) |
电阻( |
电流强度(A) |
|
6 |
10 |
0.6 |
|
20 |
0.3 |
翰林汇