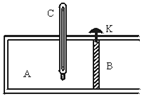
摘要:如图所示.在气缸A中密封有压缩空气.B是一种被销钉K锁住的活塞.C是一个温度计.若活塞与气缸壁间没有摩擦.当把销钉拔出后.将看到的现象:(1)活塞将向 运动,(2)温度计的示数将 .因为 .
网址:http://m.1010jiajiao.com/timu3_id_1501872[举报]
(1)活塞将向
右
运动;(2)温度计的示数降低,因为气缸内气体对活塞做功,自身内能
减小
,温度降低.(1)活塞将向
右
右
运动;(2)温度计的示数将
降低
降低
,因为气缸内气体膨胀对活塞做功,自身内能减小,温度降低
气缸内气体膨胀对活塞做功,自身内能减小,温度降低
.变小
变小
(选填“变大”“变小”或“不变”).